Как сделать пилораму в домашних условиях
Содержание
- 1 Как сделать пилораму в домашних условиях
- 1.1 Изготовление пилорамы в домашних условиях
- 1.2 Общие характеристики
- 1.3 Важные особенности
- 1.4 Выбор места
- 1.5 Выбор материалов и комплектующих
- 1.6 Оборудование для работы и алгоритм сборки
- 1.7 Заключение
- 1.8 Делаем ленточную пилораму
- 1.9 САМОДЕЛКИН ДРУГ
- 1.10 Ленточная пилорама своими руками чертежи
- 1.11 Как сделать пилораму из бензопилы в домашних условиях, чертежи и фото
- 1.12 Введение
- 1.13 Ориентировочная цена
- 1.14 Что нам понадобиться?
- 1.15 Что нужно предусмотреть?
- 1.16 Чертежи пилорамы Логосоль
- 1.17 Чертежи аналогов Логосоль
- 1.18 Пошаговый процесс изготовления
- 1.19 Видео по теме:
- 1.20 Мои услуги:
Изготовление пилорамы в домашних условиях
Деревянные изделия и заготовки из разных пород древесины считаются самым востребованным товаром для ремонта и строительства. И если подсчитать стоимость пиломатериалов, а также цену на услуги обработки и перевозки на место назначения, то можно догадаться, где и на чём можно сэкономить.
А исходя из того, что обрабатывать дерево достаточно просто, многие люди отдают предпочтение домашним пилорамам, которые позволяют придавать материалу любую форму и вид непосредственно на участке. Руководствуясь готовыми схемами и чертежами, можно создать по-настоящему продуктивный прибор, который расширит ваши возможности и позволит проводить различные операции без обращения в профессиональные мастерские.
Целесообразность желания изготовить ленточную пилораму своими руками становится очевидной после просмотра расценок на заводское оборудование. Конечно же, подобные модели доступны в большом разнообразии, но их стоимость превышает сотни тысяч рублей. И это если говорить о представителях бюджетного сегмента. Более продвинутые и мощные стоят очень дорого.
Общие характеристики
Не секрет, что древесина является одним из самых популярных материалов в частном строительстве. Несмотря на стремительное расширение ассортимента таких товаров и появление дешевой альтернативы, дерево по-прежнему пользуется спросом и не имеет аналогов. И хоть приобретение хорошего материала в гипермаркете не считается сложностью, ведь решения в виде досок, бруса или реек доступны в каждом торговом центре стройматериалов, возможность изготовить подобную продукцию в домашних условиях выглядит гораздо привлекательнее.
Это не странно, ведь в таком случае вы лишаете себя многих затрат, и единственное, что требуется купить, — деловой лес. А ведь обрезочный пиломатериал стоит очень дорого. Естественно, покупать собственную лесопилку, чтобы подправить ремонт или отремонтировать крышу, неразумно. Если же вы намерены построить какое-нибудь сооружение на чистом участке, то здесь пилорама может стать очень полезным решением. А если ещё попытаться изготовить её самостоятельно, это сделает затраты минимальными.
Сегодня применяется несколько ключевых модификаций подобного оборудования. Однако если вы намерены сделать самодельную пилораму, то, скорее всего, необходимо будет выбрать между двумя основными видами:
- вариант с фиксированным размещением пилы,
- вариант с тележкой, где фиксируется заготовка.
Именно она и перемещается по рельсам в процессе работы. Любые другие разновидности являются модернизированными версиями, которые существенно упрощают задачу и обеспечивают максимальное качество работы. Для примера можно взять мобильную пилу.
Размеры конструкции зависят от места размещения. Не секрет, что на всех участках (придомовых, дачных и т. д. ) присутствует своя характерная планировка, поэтому к выбору оптимальных размеров станка нужно подходить с особой тщательностью. Любые доступные в сети чертежи (соответствующая литература, интернет-ресурсы и другие источники информации) выполняют роль «ориентиров» — в плане отдельного комплектующего, параметров и других свойств. Самодельную пилораму делают таким образом, чтобы с ней было удобно работать в конкретном месте при конкретных условиях. В большинстве случаев подобные решения эксплуатируются для роспуска бревен и обрезки досок.
Важные особенности
Самодельная ленточная пилорама обладает многими преимуществами. Среди них — возможность постоянного совершенствования и доработок, что позволяет более точно «подогнать» её характеристики под растущие требования владельца. Для примера, если изначально вы планировали распускать бревна на доски, возможно, вскоре вам понадобится заняться собственным производством бруса.
Такую конструкцию собирают блочно-модульным методом. Если у вас отсутствует практический опыт и навыки в сооружении сложных механизмов и узлов, начинайте работу с простых чертежей. Вариант с механическим приводом несложно оснастить дополнительными деталями для автоматизации. В их числе:
- Регулятор толщины реза.
- Регулятор подачи пилы.
- Программатор и множество других.
Поэтому вам необходимо разобраться с базовыми инструкциями по составлению чертежей и сборке.
Как уже говорилось выше, сегодня применяется большое количество модификаций пилорам. При выборе подходящего решения, вы должны спросить себя — в какой плоскости планируется ведение реза. Именно такой аспект указывает на размещение рабочей конструкции. Следующий вопрос заключается в выборе однотипного или универсального типа пилорамы. Для примера, если вам приходится проводить обрезку бревен на отдельные сегменты, а не только базовый роспуск лесоматериала на доски, то есть смысл остановиться на универсальном оборудовании. Очень хорошо, если рабочая рама поддерживает переустановку.
Не секрет, что обработанные ленточной пилорамой бревна характеризуются большими габаритами и внушительным весом. К тому же при обработках станину поддают интенсивным нагрузкам, поэтому вы должны уделить особое внимание устойчивости ленточнопильного оборудования. В таком случае вам не придётся переживать о качестве реза и безопасности рабочих.
Изготовить пилораму в домашних условиях своими руками не так сложно, как кажется изначально. Многие сложности возникают у людей уже на следующем этапе — подготовке к эксплуатации. Самая ключевая неприятность заключается в разводке и заточке пилы.
Выбор места
Если вы располагаете специальной мастерской или помещением, где проводятся все обработочные мероприятия, желательно обеспечить не меньше 18 квадратных метров рабочей площади. На такой территории можно будет распускать даже самые крупногабаритные бревна.
В частных мастерских часто выделяют под монтаж пилорамы пустующее строение, или хотя бы один его отсек. Иногда деревообрабатывающие мероприятия проводятся под открытым небом, однако вряд ли вы живете с такими соседями, которые будут нормально реагировать на множество летящих с ветром опилок и мелкой стружки. Да и не каждый будет рад видеть, как территория возле его дома быстро засоряется различным мусором.
Чтобы не стать жертвой подобной неприятности, достаточно ответственно отнестись к возведению ограждения сплошного типа. Возможно, вам подойдёт вариант из листов поликарбоната или прочной многослойной фанеры.
К тому же вам необходимо заранее подготовить место для складирования готового пиломатериала. В результате следует подобрать подходящий участок земли для хранения конечной продукции.
Эти вопросы следует решить ещё до начала проектирования конструкции.
Выбор материалов и комплектующих
Если вы серьёзно задумались об изготовлении самодельной ленточной пилорамы, будьте готовы уделить должное внимание вопросам выбора всех деталей и материалов.
- Первым делом следует подобрать двигатель. В большинстве случаев используют бензиновые или электрические агрегаты с соответствующими показателями мощности. Если взглянуть на ситуацию с практической точки зрения, то асинхронные (электрические) модели являются самыми оптимальными. Связано это с тем, что у них отсутствуют проблемы с подключением к домовой электрической сети, и к тому же срок их эксплуатации достаточно большой. А стабильность оборотов обеспечивает максимальное качество реза бревен на пилораме.
- Материалы. Не секрет, что для обработки громадной древесины следует использовать качественные изделия из прочного металла. Для примера, на подвижной части «тележки» принято устанавливать заготовку из профилированной (толстостенной) трубы квадратного или прямоугольного сечения. А вот опорную раму изготовляют из швеллера, что связано с совокупными нагрузками. Исходя из этого, рельсы монтируют из габаритного уголка (не менее 45), хотя здесь эффективен и швеллер, но с меньшими линейными характеристиками.
Оборудование для работы и алгоритм сборки
Не секрет, что при сооружении самодельной пилорамы не обойтись без хорошего сварочного оборудования. Болтовые соединения в таком случае бесполезны. Лучше не рисковать, т. к. через какое-то время подобное крепление потеряет прежнюю прочность, разболтается и сделает конструкцию опасной для использования. А подтягивать болты и ежедневно следить за их состоянием — не самая лучшая перспектива.
Что касается алгоритма сборки оборудования, то он остаётся очень простым и понятным. Основные сложности заключаются с подгонкой по размерам составных частей.
Первым делом вы должны осуществить монтаж опорной платформы, по которой будет передвигаться тележка с пиломатериалом. К тому же к рельсам нужно прикрепить раму, где будет установлен рабочий инструмент. Среди ключевых требований — надёжность и выравнивание в горизонтальной плоскости. Где и как крепить её — решать вам. Возможен вариант использования специально оборудованного фундамента, например, столбчатого, или же вариант со стойками, которые вкапываются в грунт.
О предназначении передвижного узла (тележки) уже неоднократно упоминалось. Чтобы обеспечить надёжную фикцию бревна при распиловке, передвижной элемент оснащают «струбциной», которая надёжно зажимает древесину к раме и предотвращает любой риск смещения. Также на тележке должны присутствовать колесики, которые будут обеспечивать подвижность.
Что касается рамы для пилы, то она должна быть оборудована хорошим механизмом регулировки. В противном случае появится сложность в обеспечении возможности изменения положения режущих узлов.
В настоящее время используется ряд инженерных решений, поэтому какое из них выбрать — решать вам. Приводить конкретные примеры без предварительного изучения существующих модификаций нет смысла.
Заключение
Далеко не каждый может позволить себе покупку готовой пилорамы, да и её окупаемость совсем небольшая, и то если речь идёт о коммерческом использовании и постоянных заказах. Поэтому приобретать столь недешевое оборудование, не зная, есть ли в этом смысл, нецелесообразно. Можно ли сделать конструкцию самостоятельно? Какие сложности могут возникнуть в процессе сборки, и чего ожидать от предстоящей работы начинающему самодельщику, который решился проводить распиловку необработанных бревен в домашних условиях?
Как уже говорилось выше, процесс изготовления самодельной пилорамы может быть достаточно простым и понятным при условии, что вы ответственно отнесетесь к изучению инструкций и чертежей. Основные сложности могут заключаться в выборе подходящих комплектующих, обширном количестве токарных и сварочных работ, а также необходимости проводить разводку и заточку пилы специальным способом. Правда, если соблюдать все тонкости ухода и обслуживания пилорамы, она сможет добросовестно проработать своему хозяину на протяжении долгих лет, обеспечивая максимальное качество работы.
Общие особенности и порядок изготовления самодельной пилорамы рассмотрены. Специалисты рекомендуют заранее определить тип задач, которые будут решаться на оборудовании. Только после этого можно переходить к монтажу и сборке конструкции. Для упрощения предстоящей работы, можно скачать и изучить готовые чертежи, которые имеются в свободном доступе в сети. В таком случае вы сможете быстро и эффективно собрать установку с разными размерами, учитывая масштабирование. Также можно воспользоваться готовым руководством, но применить свои изменения, чтобы поменять конфигурацию или расширить набор функциональных возможностей пилорамы.
В любом случае, если придерживаться базовых принципов, учитывать советы профессионалов и не допускать непоправимых ошибок, отклоняясь от инструкции, вы сможете создать высокоэффективное устройство, которое позволит решать множество задач по обработке древесины в домашних условиях.
Делаем ленточную пилораму

Привет любителям помастерить, сегодня мы рассмотрим, как изготовить ленточную пилораму. Самоделка не сложна в сборке и позволяет с легкостью нарезать бревна на доски. Резка получается ровной и чистой, причем с работой может справиться один человек. Станок не сложный, собрано все из доступных материалов. Конечно, конструкция еще не до конца доработана, но станок уже неплохо работает. Приводится машина в действие двигателем мощностью 2.2 кВт на 1500 оборотов. Если вас заинтересовал проект, предлагаю изучить его более детально!
Материалы и инструменты, которые использовал автор:
Список материалов:
— профильные трубы;
— листовое железо;
— ременная передача;
— оси и подшипники;
— двигатель 2.2 кВт/1500 об/мин;
— болты и гайки;
— подшипники для направляющих.
Процесс изготовления пилорамы:
Шаг первый. Рама
Первым делом нужно сварить раму, на которой будут расположены все рабочие узлы машины, в том числе двигатель. Раму автор сварил из профильных труб, использовались размеры 20Х40 мм, а также 20Х20 мм, толщина стенки составляет 1.5 мм. Все надежно свариваем, зачищаем сварные швы, теперь все смотрится красиво и аккуратно.


Шаг второй. Колеса
Далее нужно изготовить два колеса из железа. Для каждого колеса вырезаем по два круга, большего и меньшего диаметра. В центре кругов сверлим отверстия, а потом при помощи подходящей распорки свариваем диски вместе, чтобы получились колеса. По кругу обвариваем колеса железными пластинами. В итоге должна будет получиться канавка, в которую ложится отрезная лента.
Благодаря бортикам лента не слетает и для станка даже не обязательно наличие упорного подшипника. Конечно же, с подшипником КПД и срок службы машины будет повыше.





Что касается ведомой оси, то она должна иметь возможность отдаляться от двигателя и приближаться, в результате чего натягивается отрезное полотно. У автора на станке регулировка осуществляется при помощи двух резьбовых стержней. Также есть возможность настроить угол ведомого колеса, в итоге пильное полотно можно отрегулировать так, чтобы оно не слетало.
Шаг четвертый. Испытания
Под пилораму делаем рельсы из профильных труб. В качестве колес автор использовал подшипники. Для каждой стойки используется 3 подшипника, это вертикальный подшипник и боковые.
Вот и все, после этого можно устанавливать бревно и приступать к работе. Регулировку бревна по высоте автор решил осуществлять при помощи домкрата, но всю эту систему нужно еще продумать и испытать.







Работает станок отлично, но поначалу у автора слетало полотно, проблема была решена путем регулировки ведомого колеса. Рез получается чистым, получается вполне отличный материал для хозяйских нужд.
Но главный недостаток конструкции в том, что отсутствует защитный кожух, его нужно сделать обязательно, иначе работать таким станком опасно для жизни! На этом проект можно считать успешно завершенным. Надеюсь, вам самоделка понравилась, и вы нашли для себя полезные мысли. Удачи и творческих вдохновений, если решите повторить подобное, не забывайте делиться с нами своими идеями и самоделками!
Источник
САМОДЕЛКИН ДРУГ

Ленточная пилорама своими руками чертежи
Уважаемые посетители сайта «Самоделкин друг« из представленного материала вы узнаете как можно самостоятельно сделать свою собственную ленточную пилораму. Каждый мастеровой человек мечтает иметь в своем хозяйстве свою собственную пилораму, потому как ее наличие в десятки раз уменьшит расходы на пиломатериал. При помощи данного станка можно самому распускать бревна на доски и бруски, так же отличный вариант и для тех кто строится, тоесть доски можно производить непосредственно на месте строительства будущего дома. А так же возможно открыть свою частную пилораму и распускать доски уже за деньги и пополнять семейную казну дополнительным заработком. Вообщем станочек очень хорош со всех сторон, да и самостоятельная его сборка опять же обойдется куда дешевле заводского аналога, потому как много запчастей можно использовать б/у и имеющихся в наличии у автолюбителя, к примеру : колеса от легкового автомобиля, ступицы, подшипники, болты и прочее что можно раздобыть в гараже)
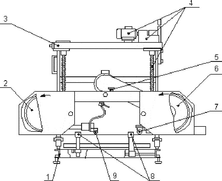
Конструкция ленточной пилорамы представляет из себя 1. рельсовую дорожку 2. станину с силовым агрегатом 3. полотно 4 механизмы регулировки и натяжения 5. каретка 6. ровная поверхность (желательно фундамент-плита)
И так, давайте ознакомимся с перечнем необходимых составляющих для сборки станка. А так же разберем весь процесс поэтапно.
Материалы
- уголок 100х100, швеллер, рельса от узкоколейки (для изготовления рельсового полотна)
- колеса от легкового автомобиля
- ступицы
- подшипники
- профтруба квадратного сечения
- шпилька с резьбой
- цепь
- домкрат
- капельница
- силовой агрегат (бензиновый или электродвигатель)
- арматура
- болты, гайки, шайбы, граверы
- листовой металл 1 мм
- шкив
- ремень
Инструменты
- сварочный аппарат
- дрель
- наждак
- болгарка
- молоток
- рулетка
- набор гаечных ключей
- уровень (лазерный)
- линейка
- уголок
Процесс сборки ленточной пилорамы своими руками.

И так, первым делом стоит ознакомится с чертежами, потому как любое дело начинается с разметки, как говорится «Семь раз отмерь, один раз отрежь.



Так с чертежами ознакомились, а теперь хочется еще отметить то, что самодельные пилорамы бывают нескольких видов
1 Ленточная пилорама с электродвигателем.
2. Ленточная пилорама с бензиновым двигателем.
3 Шинная пилорама.
Принцип работы ленточного станка для распиловки древесины. Полотно натягивается на 2 горизонтально расположенных шкива, в данном случае это обычные автомобильные колеса с покрышкой и камерой, неоспоримый плюс данной конструкции в том, что можно производить натяжение пильного подкачкой шин.
Ограничитель и поддерживающие ролики располагаются непосредственно в нижней части.
Чтож принцип работы надеюсь понятен, далее стоит позаботится о размещении рельсовой дороги по которой будет ходить каретка с пильным полотном и распускать бревна на доски. Площадка должна быть размерами не менее 3 х 6 м, а самое главное ровной! Поэтому необходимо под пилораму залить плиту-фундамент и выровнять до идеально ровной поверхности. Копается углубление, укладывается песчаная подушка и заливается армированная плита из бетона.
Далее идет установка самой рельсовой дороги, ее в лучшем случае можно сделать из рельс от узкоколейной железной дороги, но таковое трудно достать, так что придется делать из швеллера либо уголка. Обратите внимание. На фото уголок расположен ребром вверх.
Соединять уголок между собой можно сваркой, но при нагреве металла его может повести, а нам нужна идеально ровная дорога, так же можно крепить рельс непосредственно к бетонному основанию при помощи анкерных болтов.
Опорные ролики можно сделать из обычных подшипников, либо заказать у знакомого токаря.
После чего изготавливается непосредственно сама пильная рама, где используются трубы разного диаметра которые можно вставить одна в другую. за счет чего ползун может подниматься вверх и вниз.
Рама же сварена из профтрубы квадратного сечения.
В нижней части устанавливают опорные ролики. они должны соответствовать ширине рельсовой дороги.
Далее изготавливается механизм подъема.
После чего устанавливаются шкивы и ступицы.
Подключение к силовому агрегату.
Выравнивание и поддержка пильного полотна осуществляется за счет подшипников.
Сверху в обязательном порядке следует установить защитный кожух из металла. Техника безопасности здесь превыше всего, потому как полотно может и вылететь .
Механизм натяжения можно сделать из небольшого домкрата.
После полной сборки пилорамы проводится пробный запуск, если все в порядке, то отключается двигатель и укладывается и крепится бревно.
Распускается бревно на доски. Так же можете посмотреть работу лесопилки наглядно на видео.
Вот такая замечательная пилорама вообщем то получилась, теперь распускай доски и бруски для строительства и ремонта сколько угодно, только успевай бревнышки подкидывай)
Как сделать пилораму из бензопилы в домашних условиях, чертежи и фото






Здравствуйте уважаемые читатели и подписчики блога, на связи Андрей Ноак! Сегодня я расскажу как делается пилорама из бензопилы своими руками с чертежами и фото.
Введение
Кризис заставляет взглянуть на старые процессы новыми глазами. Где то закрываются лесопильные заводы, а где то наоборот решают открыть лесопилку. Как правило открывают лесопилку в последнее время частники, у них и издержки ниже и эффективность повыше. Тут и бизнес план лесопилки не нужен, но если пригодится то вам сюда!
Иногда слово «открывают» слишком громко сказано. Просто ставят лесопилку для использования ее в домашних условиях к примеру для постройки дома, ну на крайний случай распилить бревно соседу. Вот такой случай мы и рассматриваем
При открытии своей лесопилки существует несколько вариантов как это лучше сделать:
- Купить недорогое оборудование;
- Сделать самому.
Опять же для строительства дома и получения 3 — 5 кубов досок, покупать лесопилку за 50 — 150 тысяч ну просто транжирство какое то. Ведь наши доски то будут стоить в разы дешевле 18 — 30 тысяч рублей.
Выход есть, сделать пилорамку из бензопилы. Это у вас не займет много времени если вы обладаете руками которые растут у вас из нужного места. Кроме того она вам послужит верой и правдой долгое время, ведь своя пилорама это сегодня довольно выгодный бизнес.
Ориентировочная цена
По стоимости можно уложиться в 5 — 15 тысяч рублей на изготовление своей лесопилки:
- Бензопила — 9 тыс. рублей;
- Элекропила — 5 тыс. рублей;
- Механические домкраты 2 шт. — 1500 рублей;
- Дополнительные расходы — 4500 рублей.
Что нам понадобиться?
- Сварочный аппарат, электроды;
- Пиломатериалы, столбики, шурупы, гвозди;
- Бензопила, электропила или просто электродвигатель;
- Удлиненные шины с цепями, если будете пилить лес больших диаметров, про это ниже;
- Материал для изготовления корпуса, желательно уголок, так как он довольно устойчив к вибрациям;
- Ролики и направляющие;
- Шнур, бельевая веревка или тросик для продвижения пилы во время пиления;
- Подшипники для роликов.
Какой материал выбрать для изготовления корпуса? Общепринятым считается безусловно металл. Он хорошо выдерживает тяжесть бревен, устойчив при изменении влажности.
Еще одним более дешевым и экономным вариантом использования в качестве материала можно считать древесину. При качественном креплении на шурупы и саморезы, древесина будет легко выдерживать нагрузку от тонкомерной древесины.
Что нужно предусмотреть?
Перед изготовлением нужно обратить внимание на следующие вещи:
- Диаметр распиливаемых бревен, если будут большие диаметры, то нужна более мощная пила, более длинная шина с цепью;
- Загрузку тяжелых бревен на распиловку, для этого нужно обязательно предусмотреть какой то механизм, или может закатывать их или дополнительные домкраты или в идеале погрузчик;
- Бревно должно фиксироваться, чтобы во время распиловки оно не играло и доски были ровными;
- Направляющая для бензопилы и салазки не должны играть, поэтому их нужно усиливать;
- Чем мощнее пила, тем легче будет осуществляться производство. Поэтому приобретая пилу нужно брать максимально мощную;
- Использования электричества в качестве источника энергии позволяет хорошо сэкономить;
- Не забываем что цепь должна быть для продольного пиления, это позволит значительно поднять скорость процесса. Специалисты рекомендуют использовать цепь 3*8.
- Цепь желательно покупать твердосплавную. Этим на сегодня занимается компания «Штиль». Обычные цепи выходят из строя достаточно быстро;
- Длину распиливаемых бревен, нужно учесть максимум и минимум. Чтобы максимально длинные входили, а минимально короткие не проваливались между направляющими;
- Рассчитывать таким образом, чтобы пила во время работы не вибрировала и не играла на направляющих;
- Мощность пилы, в некоторых случаях хочется и помощнее и по экономнее. В таком случае народные умельцы делают следующее. Вместо бензопилы ставят электромотор, а шину оставляют для распиловки, смотрите фото ниже;
- Высоту пилорамы. Нужно предусмотреть таким способом, чтобы и спина не болела наклоняться и бревна высоко не нужно было поднимать. Если лес будет не тяжелым, лучше делать ее повыше. Если лес тяжелый, можно и по ниже.
- Распиловка леса может осуществляться как верхней частью шины, так и нижней. При распиловке нижней частью, опилки летят в сторону бензопилы и забивают ее. Верхняя же часть выкидывает опилки от бензопилы, это позволяет увеличить как сам срок эксплуатации пилы, так и время простоев во время пиления;
- В процессе пиления, цепь очень часто на пиле растягивается и нуждается в натяжке. Поэтому при установке пилы нужно обязательно предусмотреть доступ к натяжке цепи и закрепить пилу с доступом к механизму;
- При пилении лучше фиксировать положение рукоятки бензопилы, это упрощает процесс;
- Тросик, бельевая веревка или шнурок не должен тянуться, так как процесс пиления должен быть равно мерен во времени.

Чертежи пилорамы Логосоль
Чертеж пилорамы Логосоль
Немного предыстории, швейцарский парень Бенгт-Улофа Бюстрём разрабатал очень простую и мобильную пилораму «Логосоль». Его разработка быстро разлетелась по всему миру, завоевав сердца миллионов частников. Как вы уже поняли ее главное преимущество это дешевизна и мобильность. Видео распиловки леса на пилораме Логосоль:
Чертежи аналогов Логосоль

Чертежи пилорамы своими руками
По чертежам сразу скажу, под каждый случай делаются индивидуальные чертежи. Ведь я же не знаю какой именно вы бензопилой будете пользоваться. Второе это мне не известно какой материал у вас имеется, я напишу к примеру уголок, а у вас имеется труба, которая вполне сгодится. Поэтому расчерчиваем всю схему, за основу беря выше показанные чертежи.
Пошаговый процесс изготовления
Итак, процесс будет у нас проходить следующим образом:
- Чертим чертежи исходя из материалов которые у вас имеются;
- Изготовление каркаса. Для этого свариваем уголок или трубу в каркас;
- Изготовление салазок. Можно из деревянной доски с покрытием участка движения салазок нержавеющим листом или оцинковкой. Второй вариант, из уголка, по которому будут ездить ролики. Третий вариант из рельсов. Варианты представлены по мере возрастания нагрузки на пилораму;

Салазки сделаны из доски 50 мм. Доска для меньшего истирания покрыта оцинковкой. По салазкам ездит профильная (квадратная) труба без четвертой стенки.
- Следующий шаг — механизм регулировки толщины доски. Тут существует два варианта. Первый как в пилораме «Logosol», поднимается бревно, а режущая часть неподвижна. Такой вариант больше подходит для распиловки небольших бревен, чтобы не наклоняться и не болела спина, быстрее производить распиловку. Для использования такого способа хорошо подойдут обычные механические домкраты, нужно смотреть чтобы высота подъема их была максимально возможной. Второй вариант это когда бревно неподвижно, а пила опускается и поднимается по линейке. Какой вариант вы будете реализовывать, нужно продумать еще на этапе создания чертежей;
- Крепление бензопилы. Проверка конструкции на прочность. Устранение люфтов;
- Изготовление механизма равномерного продвижения пилы из тросика, бельевой веревки или шнурка:
- Пуско наладка и доработка.
Видео по теме:
Мои услуги:
Я предлагаю ряд услуг по запуску оборудования, поиску и продаже вашего оборудования. Помогу просчитать бизнес план лесопильного производства. Более подробно про мои услуги можно узнать в разделе «УСЛУГИ».
Есть также у меня и отличная книжка по лесопилению. Рассчитана она на большие лесопильные производства, но будет полезна и частникам на маленьких лесопилках. Более подробно о ней в разделе «МОИ КНИГИ».

Удачи и до новых встреч, с вами был Андрей Ноак!
